TECOTEC GROUP
Kính hiển vi đo lường MarVision MM 200 4246005
LIÊN HỆ
Vui lòng liên hệ để nhận báo giá phù hợp
Yêu cầu báo giá
Thanh toán an toàn
Hỗ trợ chuyên nghiệp
Đổi trả dễ dàng
Giao hàng tận nơi
Kính hiển vi đo lường MarVision MM 200

Ứng dụng:
- Để đo khoảng cách và góc (với đầu đo 200 w), ví dụ: các bộ phận được đục lỗ và mềm, các bộ phận nhựa, cũng như bảng mạch điện tử

Thông số kỹ thuật
| Mã đặt hàng | 4246000 | 4246001 | 4246005 | 4246006 | |
|---|---|---|---|---|---|
| Loại sản phẩm | MM 200 | ||||
| Dải đo X/Y | mm | 50 / 50 | |||
| Kích thước bàn đế | mm | 150 x 150 | |||
| Khối lượng tối đa bàn đế có thể tải | kg | 15 | |||
| Hệ thống đo lường | Đầu chỉnh tinh | ||||
| Hệ thống đo lường – độ phân giải | mm | 0,001 | |||
| Hệ thống đo lường – Giới hạn lỗi | µm | 8 | |||
| Hệ thống đo lường – Độ lặp lại | µm | 2 | |||
| Độ phóng đại | Ống kính cố định 32x | Độ thu phóng có thể biến đổi 8x- 40x |
Ống kính cố định 32x | Độ thu phóng có thể biến đổi 8x- 40x |
|
| Trường nhìn | mm | 6 | 23 – 4 | 6 | 23 – 4 |
| Khoảng cách vật-vật kính | mm | 75 | |||
| Chiều cao phôi tối đa | mm | 190 | |||
| Bố trí đèn | Đèn LED sự cố và truyền tải, có thể điều chỉnh riêng | ||||
| Nguồn điện: | 230 V / 50 Hz | 110 V / 60 Hz | |||
| H x W x D | mm | 535 x 410 x 470 | |||
Phụ kiện
| Mã đặt hàng | Tên sản phẩm | Loại sản phẩm |
|---|---|---|
| 4246010 | Đầu thị kính với thiết bị đo góc tùy chọn | 200 w |
| 4246018 | Ống thị kính với thiết bị đo góc và giá đỡ tùy chọn | 200 wk |
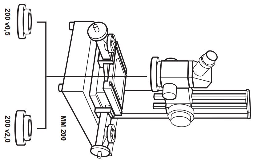
| 4246020 | Thấu kính phụ 0.5x | 200 v0,5 |
| 4246021 | Thấu kính phụ 2.0x | 200 v2,0 |
| 4245042 | Đèn sợi quang cổ ngỗng, 2-Tay, L=500mm D= 40mm | 200 fl |
| 4245043 | Nguồn sáng lạnh 240V | 200 fs |
| 4246070 | Vỏ bảo vệ cho MM200 | |
| 4305122 | Cáp kết nối dữ liệu RS232C (2 m) | 800 EWr |
| 4305121 | Cáp kết nối dữ liệu 800 EWu USB (2 m) incl. Phần mềm MarCom Std. |
800 EWu |
| 4102212 | Giao diện phần mềm | MarCom Prof. 5.1 |
| 4245053 | Nguồn sáng lạnh 100-120V | 200 fs |

- Đèn quang học chất lượng cao cho hình ảnh 3D đậm và sắc nét
- Ống kính thu phóng và/hoặc ống kính cố định với độ phóng đại thay đổi liên tục
- Lấy nét bằng một tay quay tiện dụng, được gắn ở 2 bên, lý tưởng cho người thuận tay trái hoặc tay phải
- Đầu lăng kính nghiêng tới 45°; với sự điều chỉnh điốp
- Đèn vòng LED, có thể làm mờ
- Đèn nền LED, có thể làm mờ
- Chân đế được đúc chắc chắn
- Bàn đế XY ổn định được gắn chính xác
- Giao diện dữ liệu: Opto RS232C, USB
- Trọn bộ bao gồm: Mắt kính 10x, tấm chắn bụi, Hướng dẫn sử dụng
Cần tư vấn hoặc báo giá? Chuyên gia của chúng tôi phản hồi trong 2 giờ làm việc.
30 năm kinh nghiệm · Hơn 500 dòng thiết bị đo lường · Hỗ trợ kỹ thuật trọn vòng đời sản phẩm
1 / 1