Mô tả
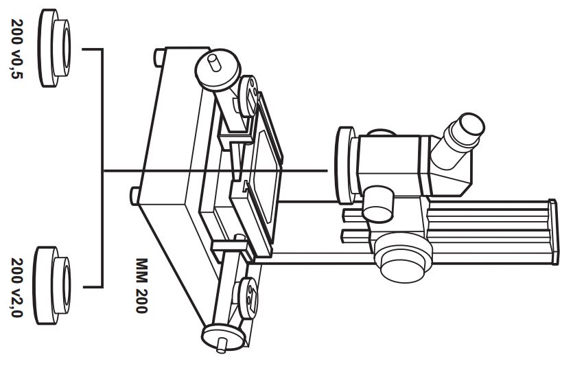
Kính hiển vi đo lường MarVision MM 200

Ứng dụng:
- Để đo khoảng cách và góc (với đầu đo 200 w), ví dụ: các bộ phận được đục lỗ và mềm, các bộ phận nhựa, cũng như bảng mạch điện tử

Thông số kỹ thuật
| Mã đặt hàng | 4246000 | 4246001 | 4246005 | 4246006 | |
|---|---|---|---|---|---|
| Loại sản phẩm | MM 200 | ||||
| Dải đo X/Y | mm | 50 / 50 | |||
| Kích thước bàn đế | mm | 150 x 150 | |||
| Khối lượng tối đa bàn đế có thể tải | kg | 15 | |||
| Hệ thống đo lường | Đầu chỉnh tinh | ||||
| Hệ thống đo lường – độ phân giải | mm | 0,001 | |||
| Hệ thống đo lường – Giới hạn lỗi | µm | 8 | |||
| Hệ thống đo lường – Độ lặp lại | µm | 2 | |||
| Độ phóng đại | Ống kính cố định 32x | Độ thu phóng có thể biến đổi 8x- 40x | Ống kính cố định 32x | Độ thu phóng có thể biến đổi 8x- 40x | |
| Trường nhìn | mm | 6 | 23 – 4 | 6 | 23 – 4 |
| Khoảng cách vật-vật kính | mm | 75 | |||
| Chiều cao phôi tối đa | mm | 190 | |||
| Bố trí đèn | Đèn LED sự cố và truyền tải, có thể điều chỉnh riêng | ||||
| Nguồn điện: | 230 V / 50 Hz | 110 V / 60 Hz | |||
| H x W x D | mm | 535 x 410 x 470 | |||
Phụ kiện
| Mã đặt hàng | Tên sản phẩm | Loại sản phẩm |
|---|---|---|
| 4246010 | Đầu thị kính với thiết bị đo góc tùy chọn | 200 w |
| 4246018 | Ống thị kính với thiết bị đo góc và giá đỡ tùy chọn | 200 wk |
| 4246020 | Thấu kính phụ 0.5x | 200 v0,5 |
| 4246021 | Thấu kính phụ 2.0x | 200 v2,0 |
| 4245042 | Đèn sợi quang cổ ngỗng, 2-Tay, L=500mm D= 40mm | 200 fl |
| 4245043 | Nguồn sáng lạnh 240V | 200 fs |
| 4246070 | Vỏ bảo vệ cho MM200 | |
| 4305122 | Cáp kết nối dữ liệu RS232C (2 m) | 800 EWr |
| 4305121 | Cáp kết nối dữ liệu 800 EWu USB (2 m) incl. Phần mềm MarCom Std. | 800 EWu |
| 4102212 | Giao diện phần mềm | MarCom Prof. 5.1 |
| 4245053 | Nguồn sáng lạnh 100-120V | 200 fs |

- Đèn quang học chất lượng cao cho hình ảnh 3D đậm và sắc nét
- Ống kính thu phóng và/hoặc ống kính cố định với độ phóng đại thay đổi liên tục
- Lấy nét bằng một tay quay tiện dụng, được gắn ở 2 bên, lý tưởng cho người thuận tay trái hoặc tay phải
- Đầu lăng kính nghiêng tới 45°; với sự điều chỉnh điốp
- Đèn vòng LED, có thể làm mờ
- Đèn nền LED, có thể làm mờ
- Chân đế được đúc chắc chắn
- Bàn đế XY ổn định được gắn chính xác
- Giao diện dữ liệu: Opto RS232C, USB
- Trọn bộ bao gồm: Mắt kính 10x, tấm chắn bụi, Hướng dẫn sử dụng

