Mô tả
Máy đo độ tròn Mitutoyo RA-2200AS/DS/AH/DH
SERIES 211
RA-2200AS với hệ thống máy tính cá nhân và phần mềm
* Được hiển thị với bộ cách ly rung động tùy chọn và bảng bên cho PC


Đo sơ bộ hai mặt cắt
A và B.
Sau bước đo sơ bộ
là bước tự động định tâm
và san bằng.


Có thể đo liên tục như thể hiện trong các bước (1) đến (3) trên hình bên trái mà không cần phải chuyển hướng đầu dò.
1) và 2) : phép đo đường kính ngoài
3) : phép đo đường kính trong
: Hướng di chuyển

THÔNG SỐ KỸ THUẬT
| Mã sản phẩm | RA-2200AS | RA-2200DS | RA-2200AH | RA-2200DH |
|---|---|---|---|---|
| Mã đặt hàng | 211-511A (mm/inch) | 211-514A (inch) | 211-512A (mm/inch) | 211-516A (inch) |
| Đường kính khả dụng của bàn xoay | 9.25" (235mm) | 8" (200mm) | 9.25" (235mm) | 8" (200mm) |
| ĐIều chỉnh định tâm/san bằng | A.A.T. | D.A.T. | A.A.T. | D.A.T. |
| Phạm vi định tâm | ±0.118" (±3mm) | ±0.197" (±5mm) | ±0.118" (±3mm) | ±0.197" (±5mm) |
| Hành trình trục máy | 12" (300mm) (trục máy tiêu chuẩn | 20" (500mm) (trục máy cao) | ||
| Khối lượng máy chính | 396 lbs. (180kg) | 440 lbs. (200kg) | ||
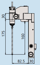
KÍCH THƯỚC

Thông số kỹ thuật
Bàn xoay
- Độ xoay chính xác (hướng tâm): {(0.02+3.5H/10000)µm}
- Độ xoay chính xác (quanh trục): {(0.02+3.5R/10000)µm}
- Tốc độ quay:2, 4, 6, 10rpm
- Đường kính bàn quay:ø9.2" (235mm) với mã AS / AH
ø 7.9" (200mm) với mã DS / DH - Phạm vi định tâm:±3mm (±5mm: với mã DS / DH)
- Phạm vi san bằng:±1°
- Đường kính lấy mẫu tối đa: ø 11.8" (300mm)
- Đường kính phôi tối đa: ø22.8" (580mm)
- Trọng lượng phôi tối đa: 66 lbs (30kg)
H: Chiều cao lấy mẫu (mm), R: Bán kính lấy mẫu (mm)
Trục máy dọc (Trục Z)
- Hành trình dọc:11.8" (300mm) (22.8" (500mm): với mã AH/DH)
- Độ thẳng (λc2.5):0.10µm / 100mm, 0.15µm / 300mm
(0.25µm / 500mm: với mã AH / DH) - Độ song song với trục quay0.7µm / 300mm
(1.2µm / 500mm: với mã AH / DH) - Tốc độ định vị:Max. 50mm/s
- Tốc độ đo:0.5, 1, 2, 5mm/s
- Chiều cao lấy mẫu tối đa:11.8" (300mm) (OD / ID)
[22.8" (500mm): với mã AH / DH) - Chiều sâu lấy mẫu tối đa:lớn hơn ø32: 85mm (với đầu đo tiêu chuẩn)
lớn hơn ø7: 50mm (với đầu đo tiêu chuẩn)
Trục ngang (Trục X))
- Hành trình ngang:6.9" (175mm) (đã bao gồm phần nhô ra 1" (25mm) trung tâm xoay của bàn xoay)
- Độ thẳng (λc2.5): 0.7µm / 150mm
Độ vuông với trục xoay: 1.0µm / 150mm - Tốc độ định vị:Max. 30mm/s với cần điều khiển
- Tốc độ đo:0.5, 1, 2, 5mm/s
Đầu dò và đầu đo
- Dải đo±400µm/±40µm/±4µm
(±5mm: phạm vi theo dõi) - Lực đo10mN~50mN (trong 5 bước)
- Đầu đo tiêu chuẩn:12AAL021,đầu bi cacbua, ø1.6mm
- Hướng đo: Hai hướng
- Điều chỉnh góc đầu đo: ±45° (với vạch chia)
Thiết bị phân tích dữ liệu:
- Phần mềm phân tích:Roundpak
- Loại bộ lọc:
- 2CRPC-75%, 2CRPC-50%, 2CR-75% (không có giai đoạn sửa chữa), 2CR-50% (không có giai đoạn sửa chữa), Gaussian, bộ lọc OFF
- Giá trị điểm ngắt;
- 15upr, 50upr, 150upr, 500upr, 1500upr,15-150upr, 15-500upr, 15-1500upr, 50-500upr, 50-1500upr, 150-1500upr, Thiết lập bằng tay
- Vòng tròn tham chiếu để đánh giá độ tròn:
- LSC, MZC, MIC, MCC
Áp lực khí:
- Áp lực khí:390kPa (4kgf/cm2)
- Mức tiêu thụ khí:30L/min
- Nguồn cấp100V AC – 240V AC, 50/60Hz
- Khối lượng:396 lbs (180kg)
440 lbs (200kg) với mã AH / DH
(667 x 510 x 900mm)
26.3 x 20 x 43.3"
(667 x 510 x 1100mm: với mã AH / DH)
In dữ liệu


Giá đỡ thiết bị dò trượt (Tùy chọn) 12AAL090


12AAF203

12AAF204

