Mô tả
Thước kẹp cơ khí đo trong và đo ngoài Mahr MarCal 18 DN 4113200
Thông số kỹ thuật
| Mã đặt hàng | Dải đo | Độ chia | Giới hạn sai số | Tiêu chuẩn |
|---|---|---|---|---|
| 4113200 | 0 – 200 mm | 0.05 mm | 0.05 mm | DIN 862 |
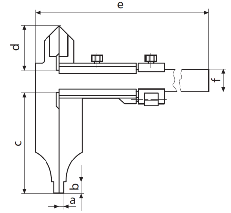
| Mã đặt hàng | a | b | c | d | e | f |
|---|---|---|---|---|---|---|
| mm | mm | mm | mm | mm | mm | |
| 4113200 | 5 | 10 | 80 | 40 | 310 | 20 |


