
Đồng hồ so cơ khí hành trình dài Peacock 207S-LL
- Được sử dụng phổ biến trong các nhà máy
- Cơ chế chống sốc
- Có gioăng chống nước và chống bụi
- Được trang bị cần nâng
- Loại mặt đồng hồ nhỏ (φ53 mm)
- Có gá lưng
- Độ chia: 0.01 mm
- Dải đo: 20 mm
- Mặt đồng hồ: ±0-50-100
- Sai số 1/10 vòng đo: 8 μm
- Sai số 1/2 vòng đo: 10 μm
- Sai số 1 vòng đo: 15 μm
- Sai số toàn dải đo: 25 μm
- Sai số đường hồi: 5 μm
- Độ lặp lại: 4 μm
- Lực đo dưới 2.0 N
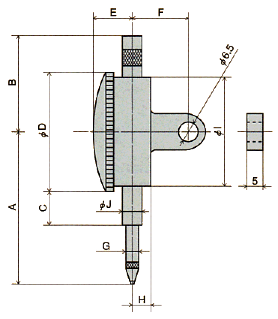
- Kích thước: A=75 mm; B=50.5 mm; C=18.5 mm; D=53 mm; E=14.5 mm; F=20 mm; G=4 mm; H=6.5 mm; I=49 mm; J=8 mm





